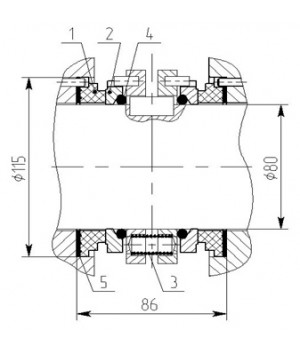
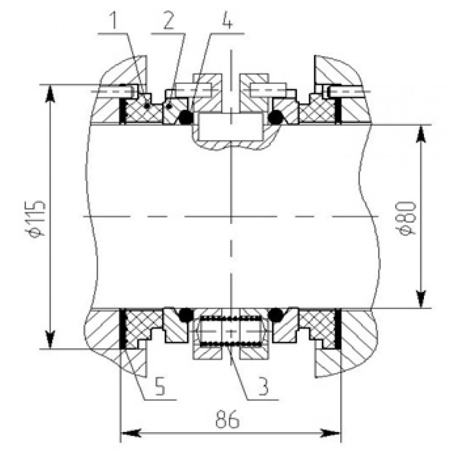
ТОРЦОВОЕ УПЛОТНЕНИЕ (САЛЬНИК) ДЛЯ КОМПРЕССОРОВ АУ200, АУУ400
0.00
0.00
0.00
Торцовое уплотнение предназначено для использования в компрессорах АУ200, АУУ400, эксплуатирующихся в системах холодильных установок как в стационарных, так и в транспортных условиях.
Пары трения торцового уплотнения развернуты друг относительно друга – «cпина к спине».
Состав уплотнения:
- кольцо неподвижное графитовое поз.1 - 2шт.;
- кольцо вращающееся поз.2 - 2 шт.;
- пружина поз.3 - 12 шт.;
- кольцо уплотнительное резиновое круглого сечения поз.4 - 2шт.;
- прокладка плоская резиновая поз.5 - 2 шт.
Возможны изготовление и поставка деталей торцового уплотнения в любых сочетаниях, например, только колец пары трения.
Направление вращения вала - любое.
Отзывы отсутствуют
Написать отзыв
Ваше имя:Ваш отзыв: Примечание: HTML разметка не поддерживается! Используйте обычный текст.
Оценка: Плохо Хорошо
Введите код, указанный на картинке:


