Неразгруженное, одинарное, многопружинное, стерильное
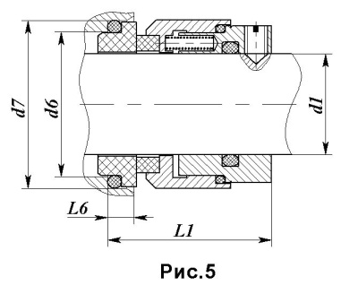
Это торцовое уплотнение представлено на рис.5.
Особенностью этих уплотнений являются:
- возможность очистки и стерилизации уплотнений без его разборки;
- повышенная чистота обработки поверхностей, контактирующих с уплотняемой средой.
Предназначены для герметизации насосов, используемых в производствах с повышенными требованиями к санитарно-гигиеническим условиям и стерильности производства.
Направление вращения вала - любое.
Материалы колец пары трения – в зависимости от среды и условий работы (карбид кремния, углеродно-графитовые композиции, хромистые нержавеющие стали, керамика).
Вторичные уплотнения – резиновые кольца круглого сечения. Состав резиновой смеси – в зависимости от среды и условий работы.
Пружины – из пружинной нержавеющей стали.
Остальные элементы – из хромистых или хромоникелевых сталей.
Давление уплотняемой среды: до 12 кг/см².
Температура уплотняемой среды: -20 °С …+150 °С.
Размерный ряд: изготавливаем торцовые уплотнения для машин (насосов, мешалок и др.) с диаметрами валов d1=25,0 … 60, 0 мм.

